Taylor Dunn Wiring Schematic

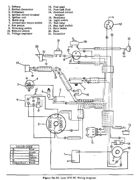
Taylor Dunn Wiring Schematic. Web the taylor dunn b2 48 wiring diagram includes the parts and connections for the vehicle’s electrical system. Web the diagram #’s for this vehicle are:

Taylor Dunn Wiring Diagram Daily Trade
Taylor Dunn Wiring Diagram Daily Trade from daily-tradez.blogspot.com

Operation, t roubleshooting and replacement. Web the taylor dunn b2 48 wiring diagram includes the parts and connections for the vehicle’s electrical system. Web taylor dunn wiring diagrams are diagrams that show the electrical wiring of a taylor dunn vehicle.

Whether You’re An Expert Electrician, A Homeowner, Or A.


Web taylor dunn wiring, 1981 to 1985 model gt370 and gt371 em master control switch click to enlarge taylor dunn accessory wiring, 1981 to 1985 model gt370 and gt371 They are essential for understanding and troubleshooting the electrical. Web the taylor dunn b2 48 wiring diagram includes the parts and connections for the vehicle’s electrical system.

Web Taylor Dunn Wiring Diagrams Are Diagrams That Show The Electrical Wiring Of A Taylor Dunn Vehicle.


Web the diagram #’s for this vehicle are: It shows what sort of. This includes diagrams for the engine, front and rear.

Needed Wiring Diagram For A 1965 Taylor Dunn Utility Cart Flat Bed 36 Volt The Model Is 1248B Serial Number 5524 Cartaholics Golf Forum.


Install the controller to the mounting plate. Operation, t roubleshooting and replacement. Web a replacement cd or hard mounting plate.

Web A Wiring Diagram Is An Easy Visual Representation From The Physical Connections And Physical Layout Of An Electrical System Or Circuit.